EBS V2 SGI-G Hinterradmotor mit Kassettenaufnahme:
– passend für alle 7-fach bis 10-fach MTB-Kassetten, außer für XT-Kassetten wegen dem nach innen ragenden Spider. Dieser schleift am gestuften Motorgehäusedeckel, weshalb XT-Kassetten nicht montiert werden können. (Vom Abschleifen des Gehäusedeckels oder des Spiders wird abgeraten).
– NICHT passend für alle Road / Rennrad Kassetten.
– 11-fach Kassetten passen nur SRAM PG-1130 / 11-42 (HG-kompatibel zu Shimano)
– KEINE 12-fach Kassetten
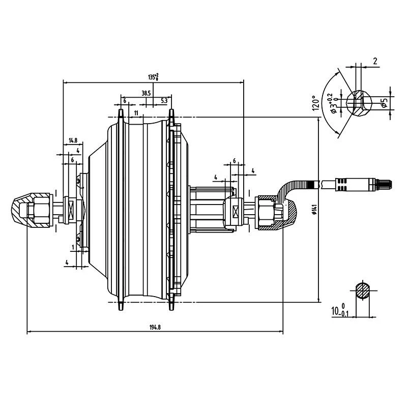
Der EBS V2 SGI-G Hinterradmotor zeichnet sich durch sein geringes Gewicht von 3,2 kg, eine geringe Geräuschentwicklung und seine Drehmomentstärke aus. Im Gegensatz zum AKM-G ist der SGI-G komplett schrägverzahnt und somit noch leiser und kräftiger. Besonders praktisch ist der eingebaute NTC Sensor, durch den die Temperatur des Motors jederzeit kontrolliert und eine Überhitzung vermieden wird. Desweiteren verfügt der SGI-G über einen integrierten Freilauf. Dadurch wird die Fahrt besonders leichtgängig, sodass Sie auch mit ausgeschaltetem System ohne Widerstand fahren können.
Diese Motoren werden zusammen mit folgendem Schraubensatz geliefert: 2x Nasenscheiben, 2x Unterlegscheiben, 2x Achsmuttern (M12 x 1,25), 2x Schutzkappen
Diese Motoren sind in folgenden Umbausätzen enthalten:
EBS Climber V2 – 250W Pedelec Umbausatz
Schon jetzt wichtige Hinweise für die Verlegung des Motorkabels und die Reinigung:
Mit dem Motorkabel muss direkt nach dem Kabelausgang aus dem Motor eine Abtropfschlaufe nach unten gebildet werden, da ansonsten die Gefahr besteht, dass durch die Alterung der Dichtmasse zusammen mit der Trichterwirkung eines direkt von oben in den Motor hineinlaufenden Kabels sich mit der Zeit Nässe im Motor ansammelt. Auch darf der Motor (wie auch alle anderen elektrischen Baugruppen) nicht mit einem Hochdruckreiniger gesäubert werden.


















Rezensionen
Es gibt noch keine Rezensionen.